9장. 웹 크롤러 설계
- 웹 크롤러는 검색 엔진이 웹 상의 새로운 콘텐츠나 수정된 콘텐츠(웹페이지, 이미지, 동영상, PDF 파일 등)를 발견하는 데에 주로 사용
- 웹 크롤러는 일부 웹 페이지를 수집하는 것부터 시작해서, 그 안의 링크를 따라가며 더 많은 콘텐츠를 수집

1단계: 문제 이해 및 설계 범위 확장
웹 크롤러의 기본 알고리즘:
- URL 목록을 입력받아, 해당 웹 페이지를 다운로드
- 웹 페이지 내의 새로운 URL을 추출
- 추출한 URL을 다운로드 목록에 추가하고 위 과정을 반복
면접관과 대화를 통해 도출한 요구사항:
- 크롤러의 주요 목적: 검색 엔진 색인 생성
- 매월 10억 개의 웹 페이지 수집
- HTML 콘텐츠만 수집
- 새로 추가되거나 수정된 웹 페이지도 고려해야 함
- 수집한 HTML 페이지는 최대 5년간 저장
- 중복 콘텐츠는 무시
좋은 크롤러의 특성:
- 규모 확장성(Scalability): 웹은 매우 방대하기 때문에, 병렬 처리를 통한 효율적인 크롤링이 필수
- 안정성(Robustness): 잘못된 HTML, 응답 없는 서버, 시스템 장애, 악성 링크 등의 상황들을 잘 처리할 수 있어야 함
- 예절(Politeness): 같은 사이트에 너무 자주 요청을 보내서 서버에 부담을 주지 않도록 주의
- 확장성(Extensibility): 향후 이미지, 동영상 등 다양한 유형의 콘텐츠를 수집할 수 있도록 설계가 유연해야 함
개략적 규모 추정
- 한 달에 웹 페이지 10억 개를 다운로드 한다고 가정
- QPS(초당 요청 수)를 계산하면, 10억 / 30일 / 24시간 / 3600초 = 약 400 페이지/초
- 피크 시간대의 QPS는 2배인 800 QPS라고 가정
- 웹 페이지 하나 당 평균 크기를 500KB라고 가정
- 한 달에 필요한 용량: 10억 페이지 × 500KB = 500TB
- 저장 기간이 5년이므로, 총 500TB × 12개월 × 5년 = 30PB(페타바이트) 필요
2단계: 개략적 설계안 제시 및 동의 구하기

시작 URL 집합 (seed URLs)
- 크롤러는 수집을 시작할 초기 URL 목록이 필요
- 예를 들어, 특정 대학교 웹사이트를 크롤링하려면, 그 대학교의 메인 도메인을 시작 URL로 사용
- 전 세계 웹을 크롤링할 경우에는 다양한 도메인에서 시작해야 하며, 지역(locality)이나 주제(topic)별로 분류
미수집 URL 저장소 (URL Frontier)
- 미수집 URL 저장소는 앞으로 다운로드할 URL을 담고 있는 대기열
- 일반적으로 FIFO 큐 구조를 사용
- 다운로드할 URL과 이미 다운로드한 URL을 구분하여 저장
HTML 다운로더 (HTML Downloader)
- URL Frontier에서 받은 URL을 사용해 실제로 웹 페이지를 다운로드
- HTTP 요청을 보내 HTML 데이터를 받아옴
도메인 이름 변환기 (DNS Resolver)
- URL을 IP 주소로 변환
- HTML Downloader가 실제 서버에 접근할 수 있게 함
콘텐츠 파서 (Content Parser)
- 웹 페이지를 다운로드한 후, HTML을 파싱해서 콘텐츠가 정상인지 확인
- HTML 구조가 잘못된 경우 저장 공간을 낭비하거나 크롤링 오류를 일으킬 수 있음
- 이 작업은 시간이 오래 걸리므로 별도의 컴포넌트로 분리해 처리
콘텐츠 중복?
- 연구에 따르면 웹 페이지의 약 29%가 중복된 콘텐츠
- 같은 내용을 가진 여러 URL이 존재할 수 있으므로, 이미 저장된 페이지인지 먼저 확인해야 함
- HTML 전체를 문자 단위로 비교하면 너무 느리므로, 보통 해시값을 사용해 비교
콘텐츠 저장소 (Content Storage)
- HTML 콘텐츠를 저장하는 시스템
- 대부분의 데이터는 너무 크기 때문에 디스크에 저장
- 자주 사용되는 콘텐츠는 메모리에 캐시해서 빠르게 접근
URL 추출기 (URL Extractor)
- HTML 문서에서 링크를 찾아 추출
- 상대 경로(relative path)는 절대 경로(absolute URL)로 변환
URL 필터 (URL Filter)
- 크롤링하지 않아도 되는 URL을 걸러냄 (파일 확장자, 접속시 에러가 발생하는 URL, 스팸 URL, 접근 제외 목록의 URL 등)
이미 방문한 URL?
- 어떤 URL이 이미 다운로드되었거나 미수집 URL 저장소에 존재하는지 확인
- 중복 URL을 피하지 않으면 서버 부하가 생기고, 심한 경우 무한 루프에 빠질 수도 있음
- 주로 해시 테이블이나 블룸 필터(Bloom Filter)를 이용해 구현
URL 저장소
- 이미 방문한 URL을 보관하는 저장소
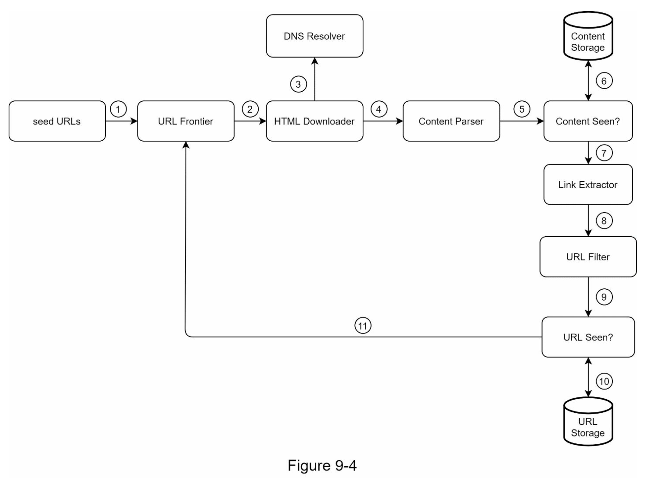
웹 크롤러 작업 흐름

- 시작 URL을 미수집 URL 저장소에 저장
- HTML 다운로더가 미수집 URL 저장소에서 URL 목록을 가져옴
- HTML 다운로더가 도메인 이름 변환기를 호출하여 각 URL의 IP 주소를 얻은 뒤, 다운로드를 시작
- 콘텐츠 파서가 HTML 페이지를 파싱하고, 문서가 잘못된 구조인지 검사
- 콘텐츠가 파싱되고 검증되면, 콘텐츠 중복 확인 단계로 전달
- 중복 확인을 위해, 해당 HTML 페이지가 이미 저장되어 있는지를 확인
- 이미 저장되어 있다면, 동일한 콘텐츠가 다른 URL로 이미 처리된 것임을 의미하므로, HTML 페이지 폐기
- 저장되어 있지 않다면, 시스템은 이전에 이 콘텐츠를 처리한 적이 없으므로, URL 추출기로 전달
- URL 추출기가 HTML 페이지에서 링크들을 추출
- 추출된 링크들은 URL 필터로 전달되어 불필요한 항목을 제거
- 필터링된 링크들은 중복 URL 판별 단계로 전달
- 중복 URL 판별을 위해, 해당 URL이 이미 URL 저장소에 저장되었는지 확인
이미 처리된 경우에는 아무 작업도 수행하지 않음 - 이전에 처리된 적이 없는 URL은 URL 저장소 및 미수집 URL 저장소에 추가되어, 다시 크롤링 대상이 됨
3단계: 상세 설계
DFS vs BFS
- 웹은 웹 페이지가 노드, 하이퍼링크(URL)가 엣지인 방향 그래프
- 크롤링 과정은 한 웹 페이지에서 다른 페이지로 이동하는 그래프 순회
- DFS는 너무 깊이 들어갈 수 있기 때문에, 일반적으로 웹 크롤러에서 BFS를 사용
- BFS가 사용하는 FIFO 큐의 두 가지 문제점
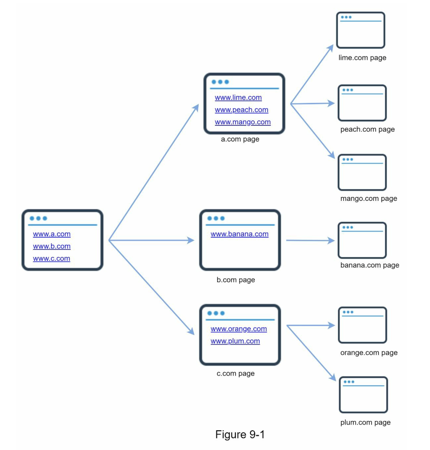
- 대부분의 링크가 같은 웹 페이지 내 링크, 즉 같은 서버로 연결됨
- 예시:
wikipedia.com의 모든 링크가 내부 링크이므로 크롤러는 계속해서 같은 호스트(wikipedia.com)의 URL을 처리하게 됨
병렬로 페이지 다운로드를 시도하면 Wikipedia 서버에 과도한 요청이 집중되어 '예의 없는' 크롤러로 간주됨
- 예시:
- 대부분의 링크가 같은 웹 페이지 내 링크, 즉 같은 서버로 연결됨

-
- 표준 BFS는 URL의 우선순위를 고려하지 않음
실제 웹은 모든 페이지가 같은 품질이나 중요도를 갖고 있지 않음
따라서 페이지 순위(page rank), 웹 트래픽, 업데이트 빈도 등을 기반으로 URL의 우선순위를 설정하는 것이 필요함
- 표준 BFS는 URL의 우선순위를 고려하지 않음
미수집 URL 저장소
- 미수집 URL 저장소는 이러한 문제를 해결하기 위한 핵심 데이터 구조
- 미수집 URL 저장소는 다운로드할 URL을 저장하며, 예의(Politeness), 우선순위(Priority), 신선도(Freshness)를 유지
- 예의:
- 같은 호스트에 짧은 시간 내 여러 요청 금지
- 설계 구성 요소:
- 큐 라우터: 동일 호스트 URL을 같은 큐로 분배
- 매핑 테이블: 각 호스트를 하나의 큐에 매핑
- FIFO 큐(b1, b2, …): 동일 호스트의 URL만 포함
- 큐 선택기: 각 작업 쓰레드는 하나의 큐만 접근
- 작업 스레드: 큐에서 URL을 하나씩 처리하며 딜레이를 두고 다운로드

- 우선순위:
- 페이지 랭크(PageRank), 웹 트래픽, 콘텐츠 변경 빈도 등의 척도로 우선순위 판단
- 설계 구성 요소:
- 순위결정장치: URL의 중요도를 계산
- 우선순위 큐: 우선순위별로 분리된 큐
- 큐 선택기: 무작위로 큐를 선택하되 높은 우선순위 큐는 더 자주 선택

-
- 전체 설계:
- 전면 큐: 우선순위 관리
- 후면 큐: 예의 바르게 동작하도록 관리
- 전체 설계:

- 신선도:
- 웹 페이지는 지속적으로 추가, 삭제, 수정됨
- 웹 크롤러는 데이터를 최신 상태로 유지하기 위해 정기적으로 재수집(recrawl) 해야 함
- 모든 URL을 재방문하는 것은 리소스를 많이 소모
- 최적화를 위한 전략:
- 업데이트 기록 기반 재방문 주기 설정
- 중요 URL을 우선순위로 더 자주 재방문
- 미수집 URL 저장소를 위한 지속성 저장장치
- 실제 검색 엔진 크롤링에서는 URL Frontier에 수억 개 URL이 존재 가능
- 모든 URL을 메모리에 저장하면 지속성이 없고 확장성도 떨어짐
- 모든 URL을 디스크에 저장하면 느려지고 병목 발생 가능
- 하이브리드 방식 사용:
- 대부분 URL은 디스크에 저장 (공간 문제 해결)
- 메모리 버퍼를 만들어 디스크 읽기/쓰기 부담 최소화
- 버퍼 내용은 주기적으로 디스크에 기록됨
HTML 다운로더
- robots.txt (로봇 제외 프로토콜):
- 웹사이트는 크롤러에게 robots.txt 파일을 통해 크롤링 허용 페이지 목록 전달
- 크롤러는 크롤링 전 robots.txt를 먼저 확인해야 하며, 그 지침을 따라야 함
- robots.txt를 매번 다운로드하는 것은 비효율적이므로, 캐시 처리 필요
- 성능 최적화
- 분산 크롤링
- 여러 서버에 작업 분산
- 각 서버는 여러 스레드를 운영하며 일부 URL을 담당
- DNS 캐시
- DNS 요청은 시간 소요 많음 (10~200ms)
- 도메인-IP 매핑 정보를 캐시에 저장하고 주기적으로 갱신
- 지역 분산(Locality)
- 크롤링 서버를 웹사이트와 가까운 곳에 배치하여 다운로드 속도 향상
- 캐시, 큐, 저장소도 지역 분산 가능
- 짧은 타임아웃 설정
- 느리거나 응답 없는 서버는 일정 시간 대기 후 건너뜀
- 분산 크롤링
- 안정성
- 안정 해시: 서버 간 부하 분산 및 유연한 노드 추가/제거
- 크롤 상태 및 수집 데이터 저장: 장애 시 중단된 위치에서 재시작 가능
- 예외 처리: 장애가 발생해도 시스템이 전체 중단되지 않도록 함
- 데이터 검증: 잘못된 데이터로 인해 오류 발생 방지
- 확장성
- 시스템은 새로운 콘텐츠 유형(예: 이미지, 비디오 등)도 처리할 수 있도록 유연해야 함
- 새로운 모듈을 플러그인 방식으로 쉽게 추가할 수 있도록 설계
- 예시: 새로운 모듈을 추가하여 새로운 형태의 컨텐츠를 지원
- PNG Downloader: PNG 파일 수집
- Web Monitor: 저작권 침해 감시용 크롤링

- 문제 있는 콘텐츠 감지 및 회피
- 중복 콘텐츠
- 전체 웹 페이지의 약 30%가 중복
- 해시값 비교로 중복 여부 판단
- 거미 덫
- 무한 루프를 유발 페이지
- URL 길이 제한 등으로 탐지 가능
- 덫이 확인되면 해당 사이트를 크롤러 탐색 대상에서 제외하거나 URL 필터 목록에 추가
- 노이즈 데이터
- 광고, 스팸 URL, 코드 조각 등은 가치가 없으므로 필터링 필요
- 중복 콘텐츠
4단계: 마무리
추가로 논의해볼만한 사항들:
- 서버 측 렌더링
- 많은 웹사이트들이 JavaScript, AJAX 같은 스크립트를 사용해 실시간으로 링크를 생성
- 웹 페이지를 직접 다운로드하고 파싱하는 방식으로는 동적으로 생성된 링크를 가져올 수 없음
- 이 문제를 해결하려면 파싱 전에 서버 측 렌더링(또는 동적 렌더링)을 수행해야 함
- 원치 않는 페이지 필터링
- 저장 공간 등의 크롤링 자원은 유한하므로, 스팸 페이지나 품질이 낮은 페이지는 필터링이 필요
- 이를 위해 스팸 방지 컴포넌트를 사용하는 것이 효과적
- 데이터베이스 다중화 및 샤딩
- 데이터 계층의 가용성, 확장성, 신뢰성을 향상시키기 위해
데이터를 여러 서버에 복사하는 다중화, 데이터를 분할하여 여러 서버에 분산 저장하는 샤딩 사용
- 데이터 계층의 가용성, 확장성, 신뢰성을 향상시키기 위해
- 수평적 규모 확장
- 대규모 웹 크롤링에서는 수백 개 또는 수천 개의 서버가 필요할 수 있음
- 상태 정보는 외부 저장소나 데이터베이스에서 관리하도록 설계해, 무상태 서버로 만들어야 함
- 가용성, 일관성, 안정성
- 가용성: 시스템이 계속해서 응답할 수 있어야 함
- 일관성: 사용자에게 항상 정확한 데이터를 제공해야 함
- 안정성: 장애 발생 시에도 데이터 손실 없이 작동해야 함
- 데이터 분석 솔루션
- 데이터를 수집하고 분석하는 것은 모든 시스템의 핵심 기능
- 수집된 데이터는 튜닝 및 최적화를 위해 사용됨
'대규모 시스템 설계 기초' 카테고리의 다른 글
| 대규모 시스템 설계 기초 - 11장 (1) | 2025.04.12 |
|---|---|
| 대규모 시스템 설계 기초 - 10장 (0) | 2025.04.12 |
| 대규모 시스템 설계 기초 - 8장 (1) | 2025.04.06 |
| 대규모 시스템 설계 기초 - 7장 (1) | 2025.04.06 |
| 대규모 시스템 설계 기초 - 6장 (1) | 2025.04.06 |